摘要:以南京诚迈电力信息有限公司合肥分公司为研究对象,探讨基于数字孪生技术的变电站智能运检体系构建路径。研究构建了包含感知层、数据层、平台层与应用层的四级系统架构,并介绍了数据采集、模型映射、故障预警及仿真培训等关键技术模块。通过在220kV变电站的实际部署案例验证了系统在运维效率、故障识别准确率、培训成效等方面的综合优势,研究成果为推动电力行业数字化转型提供了可复制的实践范式。
摘要:以110 kV东安站青南湖线、泉林甲线网架完善工程为研究对象,基于枫景湾#9、#15及泉林御湖湾#11、#13配电房的设备试验数据、工程三级自检报告及监理日志,系统阐述电力电缆弯道智能支撑与监测调控系统的技术原理、工程部署及应用效果。通过分析该系统在绝缘性能、应力调控及振动抑制方面的实测结果,验证其对提升电缆弯道运行可靠性的有效性,为同类保电项目提供技术参考。
摘要:基于三相维也纳整流器设计了汽车充电桩,硬件电路采用三相维也纳整流器与全桥LLC谐振变换器的拓扑结合。通过确定三相维也纳整流器、全桥LLC谐振变换器的基本参数,利用仿真软件MATLAB/Simulink建立与硬件电路相对应的仿真模型,验证基于三相维也纳整流器的汽车充电桩的理论可行性。
摘要:某35kV变电站在实施线变组接线改造后,负荷投运阶段出现差动保护差流异常现象。经全面排查,确认故障原因为施工过程中变压器高、低压侧A/C相序反接,导致实际连接组别由设计要求的Yd11变为Yd1。现系统阐述故障诊断过程,通过相量分析与现场试验相结合的方法,揭示了相序错接对保护系统的深层影响机制,并提出包含临时处置措施与永久解决方案的系统性处理策略。
摘要:介绍了主变中性点间隙零序保护的原理,并结合实际工程案例详细分析了其对小电源跳闸的影响。首先阐述了间隙零序保护是变压器中性点经间隙接地运行时的接地故障后备保护;然后以某光伏项目为例,进一步分析了主变零序间隙保护切小电源的具体要求;此外,深入剖析了该保护机制的逻辑关系,通过案例分析揭示了不同故障场景下保护切小电源的动作逻辑以及单相故障时间隙电压保护与间隙电流保护之间的关系。总体而言,研究成果对理解和优化主变中性点间隙零序保护在实际工程中的应用具有重要的理论与实践意义。
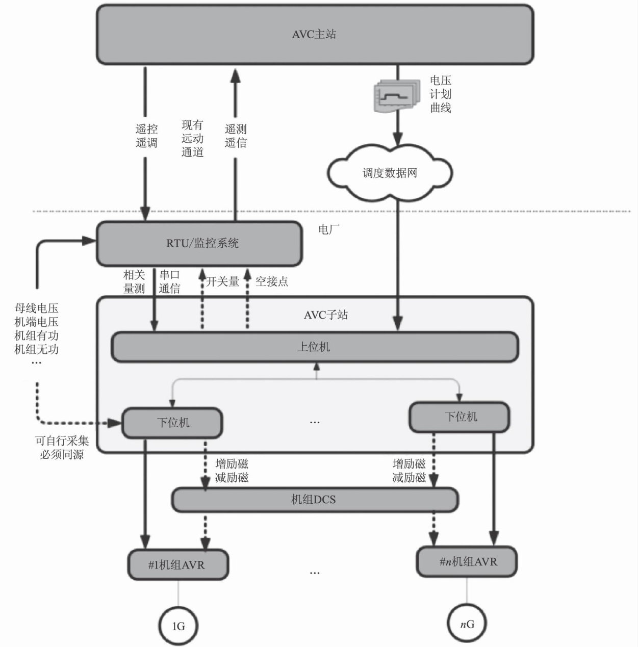
摘要:某 ∵4×1000 MW火电厂自动电压控制(AutomaticVoltageControl,AVC)系统存在响应滞后、调节精度不足、多机组协调困难等问题,通过分析影响其调节性能指标的几项关键因素,提出并实施几项优化策略,在提升AVC合格率、降低考核费用、增强电网支撑能力方面取得显著成效,可为同区域同类型火电企业提供参考。
摘要:EPR核电1号机组商运初期蒸汽发生器(SG)出口主蒸汽压力低于运行设计值,影响机组经济性和安全性。通过多次专题研讨并收集国内外不同核电机组不同型号SG运行经验反馈,确定影响EPR核电1号机组SG出口压力低的主要因素有两个方面:一是SG二次侧管板及传热管表面存在泥渣污垢,导致传热管热阻增加,传热效率降低;二是商运初期SG处于磨合期初期,根据磨合期特性,机组运行 0.1~2 年后SG出口主蒸汽压力将逐步回升 0.10~0.20 MPa。针对该问题进行的原因与机理分析,可为其他核电机组类似异常问题的分析和处理提供参考。
摘要:当前,国内经济整体呈现稳中求进态势,这一背景对电网系统中电力设备的可靠性提出了更高的要求。弹簧操动机构的断路器已广泛应用于配网系统中,依据相关文献,操动机构的机械故障是影响其运行可靠性的主要原因之一。一、二次融合10kV系列柱上断路器在配网架空线路中起到就地故障切除作用,可缩小故障影响范围,一旦该级断路器出现拒分现象,会触发同级或上级电力设备进行故障判别及切除,导致实际故障位置点不能准确判别并扩大停电范围,对线路运行不友好。针对该断路器的弹簧操动机构在使用过程中出现的拒分案例,基于图解法和等效法的操动机构力学分析方法,对机构的凸轮机构和四连杆机构分别进行运动学分析,并结合动能和能量守恒原理,对传动系统传动比、各运动部件质量进行等效归算,实现弹簧操动机构的优化设计。根据优化前后的参数对比及工程应用,所设计弹簧操动机构可避免拒分现象,并精准实现就地故障切除。该分析方法对同类型弹簧操动机构传动系统的优化设计具有参考借鉴作用。
摘要:针对变电站复杂巡检场景下无人机遍历巡检点位和障碍规避路径规划的问题,提出了一种基于融合 ?A*- 灰狼算法的无人机路径规划方法。基于工程场景进行变电站虚拟地图模型构建,通过动态加权改进 A* 算法优化节点路径,针对大规模环境下的低效搜索问题融合灰狼优化算法提升收敛效率,并采用改进Tent混沌映射、自适应位置更新及精英策略解决局部最优问题,提高全局路径规划的求解质量和算法收敛速度。仿真结果表明,所提算法求解变电站巡检路径规划问题时,相较于传统A\*和灰狼算法,路径长度分别缩短11. 24% 和4. 90% ,计算速度分别提升41.07%和 30.16% ,验证了所提方法在变电站巡检场景下的实用性和有效性。
摘要:新港高速公路双柳长江大桥及接线工程作为武汉都市区环线的关键组成部分,其智慧高速系统建设意义重大。鉴于此,详细阐述了智慧高速系统的整体架构、核心子系统设计、技术创新及应用前景。系统以“全时全域感知、主动安全管控、高效协同服务"为核心目标,整合了桥梁行车安全管理、智能诱导灯、光栅阵列等多项先进技术,构建了覆盖“感知一传输一决策一服务"全链条的智慧化体系。通过对各子系统技术原理、布设方案及协同机制的深入分析,展现了该系统在提升交通安全性、通行效率及服务质量方面的显著优势,为同类智慧高速工程提供了切实可行的参考范例。
摘要:针对工业自动化分拣的需求,以PLC为控制核心,结合自动分拣机械手的工艺流程,提出了一种基于顺序控制设计法的程序设计方法。通过绘制工作流程图与顺序功能图,并采用置位/复位指令驱动法,实现了顺序功能图与梯形图程序的高效转换。
摘要:针对ABB工业机器人码垛作业中传统程序存在的示教烦琐、通用性差等问题,提出了结合FOR循环指令、数组及Offs功能的程序优化方案。优化后的程序仅需示教一个货物的点位,其他货物的点位则通过0ffs偏置指令、FOR循环指令计算得出,将结果存储在数组中,码垛时调用数组内存储的位置即可。优化后的程序简洁易读、维护简便,有效减少了示教编程占用的机器人生产时间,显著提升了生产效率,为企业降低生产成本、增强市场竞争力提供了切实可行的编程参考,对推动工业机器人码垛程序的优化升级具有一定的实践意义和应用价值。
摘要:变电站是电力系统的关键枢纽区域,承担着电力传输和分配的重要任务。变电站中的带电区域具有极高的危险性,作业人员误入往往会引发严重的人身伤害和设备故障。针对现有的电力作业工作票制度存在的响应滞后问题,提出一种基于RT-DETR(Real-Time Detection Transformer,实时检测转化器)的作业人员误入带电区域行为识别与预警算法。该算法融合视频图像识别、实时目标检测、混合编码器等,可对带电区域内作业人员做到实时、精准检测定位,再结合电力作业工作票制度,实现对作业人员误入行为的精准识别与快速预警,以满足现代智能电网对高效、精确、安全的要求,为智慧变电站安全管理提供了新思路。
摘要:随着三相逆变器在新能源汽车、可再生能源等领域的广泛应用,系统中因高频PWM调制和寄生电容效应引发的共模漏电流问题日益突出,易导致电磁干扰、轴承电蚀及绝缘老化,严重影响系统安全与可靠性。现有的无源抑制方法虽结构简单、成本低,但体积大、难以动态调节;有源抑制方法滤波效果好,但实现复杂、功耗高且稳定性差。针对现有检测和抑制方案的不足,提出了一种非接触式电流传感结构及阻尼方案。首先分析了该电流传感结构工作原理,对其参数进行了合理设计;接着在所设计电流传感结构副边添加阻尼,从系统特征方程入手,设计寻优算法,找到使系统阻尼比最大的阻尼值,该阻尼值可以使漏电流抑制效果最佳;最后通过理论和实验验证了所提阻尼方案的有效性。实验验证表明,该方案结构紧凑、阻尼灵活,可有效降低共模漏电流幅值,具有良好的应用前景。
摘要:在全球绿色低碳转型背景下,电力行业亟需优化配电站建设模式。传统混凝土结构配电站存在施工周期长、资源消耗大、环境污染严重等问题。现以沙坪供电所10kV装配式钢结构双层配电站工程为例,系统分析其绿色节能设计原则与应用实践。设计遵循节地、节能、节材、环保原则,采用工厂预制构件与现场组装工艺,缩短工期2个月,减少建筑垃圾 80% 。通过节能设备选型、紧凑布局及地质适应性基础设计,实现节能量255000kW·h,折合 CO2 减排153t。案例验证了装配式钢结构配电站的显著优势,其提升土地利用率 30% 、材料回收率 95% ,可为农村电网绿色升级提供技术参考。
摘要:核电厂附加电源中压盘柜作为核电厂运行的关键设备,其可靠性对核电机组的应急反应能力至关重要。然而,凝露浸水引发的电气设备腐蚀、绝缘性能下降问题严重威胁其运行可靠性与安全性。鉴于此,针对某核电厂实际发生的附加电源中压盘柜凝露浸水问题展开深入研究,系统阐释凝露的机理与成因,通过设备解体清理、采取临时防潮措施、绝缘测试等处理手段,以及通风系统改造、加强设备管理、环境监控与预警等长期维护策略,有效解决了凝露问题。这些措施的实施确保了附加电源系统的稳定运行,对提升核电厂设备运行可靠性具有重要意义,为核电机组的正常运行提供了坚实保障。
摘要:以深镇站大潮线10kV配电网为研究对象,分析其当前运行状况下存在的问题,并进行自动化改造,通过对比改造前后故障自愈各环节耗时及可靠性指标,量化分析自动化技术对配电网的提升成效。结果表明,自动化改造大幅缩减了故障自愈阶段各处理环节耗时,同时显著提升了配电系统整体供电可靠性。
摘要:针对某核电项目1号发电机定子绕组直流耐压试验的放电故障展开研究,通过记录试验、描述现象多维度分析原因,针对手包绝缘工艺缺陷等核心问题提出返修方案与改进措施。经验证,返修后手包绝缘性能达标,为同类发电机相关试验及管理提供了实践经验。
摘要:为解决300MW煤粉炉空预器因硫酸氢铵 (NH4HSO4) 沉积导致的堵塞问题,设计了一种基于原有热力系统的高温高压水冲洗装置。该装置通过邻机辅助蒸汽加热除氧水至 120~160° ,利用电动给水泵加压至2 ?0~4.5MPa ,对空预器冷/热端蓄热元件实施交替冲洗,结合设备动态间隙优化设计避免运行干涉。工业应用结果表明:该电厂#1机组冲洗后空预器烟气侧压差降低62 ∴5%~65.5% ,硫酸氢铵清除效率达92. 3% ;单次冲洗成本4.0万元,较外委高压冷水冲洗方案节省费用26万元/次。截至2024年12月,该技术在4台锅炉累计应用11次,创造直接经济效益286万元。其“以热融盐-高压剥离”协同机制为热力设备堵塞治理提供了高效低成本的解决方案。
摘要:较为详细地介绍了采用CAN现场总线技术在某水下航行器上构建高速实时网络的实现过程和相关技术,以及其高层通信协议的编制,该网络系统的成功实现为未来水下航行器的全数字化做了有意义的前期探索。
摘要:探讨湿法脱硫系统中石灰石品质对石膏白度的影响。对湿法脱硫系统的运行情况进行现场试验和数据收集,分析石膏白度与石灰石白度之间的关联性。研究发现,在一定条件下,脱硫系统中石膏白度与石灰石白度存在正相关关系。该研究对于湿法脱硫系统的优化运行和石膏产品质量提升具有一定的参考和实践意义,也为湿法脱硫工艺中进行石膏高品质综合利用提供了数据支持。